来源:IT之家
据外媒 wccftech 报道,苹果申请了一项新专利,专利名称为 “电子设备之间的电感充电”(inductive charging between electronic devices)。
该专利描述了如何为 iPhone、Apple Watch 进行无线充电。MacBook 将在掌托上固定感应线圈,将触控板两侧的区域作为无线充电板,用于传输功率。

该专利还显示,除了 MacBook 的掌托,iPad 背部也可固定感应线圈,对 iPhone 和 Apple Watch 进行无线充电。

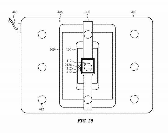
IT之家发现,专利中出现了一种大型的无线充电设备,可为 iPhone、iPad、Apple Watch 进行无线充电。

专利描述如下:
部分电子设备包括一个或多个充电电池,可能需要外部电源才能充电。通常,这些设备可能使用通用或标准化的充电器。例如,某些设备可能使用通用串行总线(‘USB’)连接线充电。但是,尽管具有标准化连接线,但每个设备可能需要单独或专用的电源才能充电。在某些情况下,为每个设备提供单独的电源可能会增加使用、存储和 / 或传输的负担。
