来源:钛媒体
2月12日,一则“贾跃亭妻子甘薇提出离婚诉讼并要求索赔近40亿元”的消息登上微博热搜,大佬家事的八卦吊足了网友们的胃口,纷纷作围观状。
下午,甘薇发出一条微博,疑似作出回应,称有人给她做新闻上热点,“真是折煞我”。她在回复网友评论时表示,自己已经20天没有出门,近来一直关注着疫情,孩子们主动提出把压岁钱都全部捐出来,支援灾区。

目前,贾跃亭债务处理小组已回应此事,称案件仍在处理中,具体离婚细节尚存异议。
甘薇索赔40亿元,离婚背后另藏玄机?
1月28日,据法律服务企业Epiq Cases网站最新披露的贾跃亭破产文件显示,已申请离婚的甘薇向贾跃亭提出了约5.71亿美元(折合人民币39.89亿元)的索偿。

值得注意的是,声明中称,相关协议生效后,债权人应在任何司法管辖权下,放弃对甘薇的债务的追索,撤回对甘薇的任何诉讼或仲裁,并且向中国法院通过已经和甘薇达成和解,把甘薇从被执行名单中移除出来。
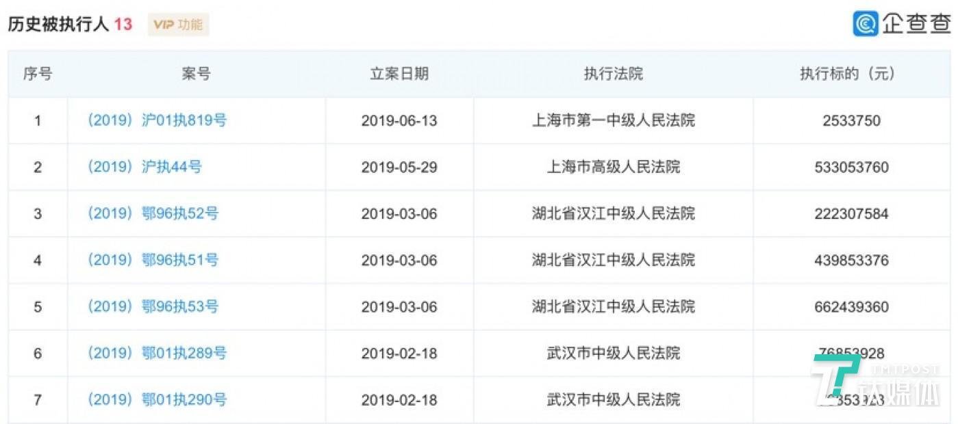
早在2018年,甘薇就曾因未支付欠款,被法院列为失信人,也就是俗称的“老赖”。企查查数据显示,甘薇方面历史被执行人信息共有13条,其中执行标的达到47.48亿元。

即使贾跃亭能够给到妻子40亿元的离婚赔偿,恐怕也补不了这一执行标的。所以,不少网友质疑贾甘二人在上演一出“假离婚”闹剧。
据悉,去年10月11日,贾跃亭和甘薇在四川省成都锦江区人民法院申请离婚,当时的案件状态显示正在审理中。
11月14日,甘薇作为原告在北京市朝阳区人民法院向贾跃亭提出离婚诉讼。12月3日,北京市朝阳区人民法院发布诉讼服务告知书称,甘薇与贾跃亭离婚纠纷一案由奥运村法庭的调解组织开展工作。
在这份起诉状内提到,原告甘薇的诉讼请求共包括七项,包括判令解除甘薇、贾跃亭间婚姻关系;判令由甘薇抚养二人的三名婚生子女;判令贾跃亭每月支付三名婚生子女的抚养费12.5万元/人/月,直至子女各自年满十八周岁;判令依法分割夫妻共同财产;判令婚姻关系存续期间,贾跃亭个人投资、生产、经营所形成的债务由贾跃亭承担等。
在分割夫妻财产方面,甘薇要求:北京市朝阳区辛庄一街一套房产归其所有,同时获得由贾跃亭实际持有的美国West Coast LLC公司股权所对应的收益、贾跃亭通过FF Top控股有限公司实际持有的Smart King股份有限公司1.47亿股B类优先股所对应收益。

在申请离婚的3天后,贾跃亭就在美国申请个人破产重组。
根据重组方案,贾跃亭将同时设立债权人信托,在条件满足的时候把全部在美国资产转让给债权人。该方案完成后,贾跃亭将不再持有任何电动汽车制造商FF的控股母公司Smart King股权。
该申请文件也披露出不少信息。其中,贾跃亭个人资产总额为14.17亿美元,其中金融资产为14.12亿美元,房地产资产为477.39万美元。贾跃亭已偿还债务超过30亿美元,待偿还债务约36亿美元(约合人民币255亿元),减去已冻结待处置国内资产以及可转股的担保债务,债务净额约为20亿美元。
令人咋舌的是,贾跃亭在10月14日提交破产申请文件前6个月,每月的月收入为93810美元。据每日经济新闻报道,身负百亿债务,贾跃亭每月依然有约66万元人民币的收入,按照网友的说法,就是“一个月一辆奔驰”。
钛媒体注意到,此次甘薇索偿的5.7亿美元,占其资产的40.22%。按照婚姻法对夫妻债务的规定,几百亿的债务既不是用于家庭生活,也不是夫妻共同经营导致,所以甘薇大概率不用“替夫还债”。
有意思的是,就在申请离婚前的2月和7月,贾跃亭还向甘薇转账共计51万美元(约合人民币361万元),汇款备注为家庭费用,即甘薇的生活费和抚养3个孩子的费用。

这很难不让众人产生联想,再加上此次甘薇索赔40亿元,似乎坐实了网友们对两人进行“技术性离婚”的猜测:贾跃亭是想把钱转移给甘薇,从而不还债权人的钱。
对债权人而言,贾跃亭能否偿还债务,取决于FF的未来,因为在其所持金融资产中,价值最高的是FF母公司Smart King旗下的West Coast LLC ,价值8.6亿美元。
换句话说,只有FF实现量产,贾跃亭才有翻盘的机会,债权人才有可能通过信托资产的增值实现偿债目标。
妻子从坚定支持到分道扬镳,贾跃亭的造车梦还能实现吗?
乐视债务危机爆发后,甘薇曾坚定地站在贾跃亭身后,支持着老公的造车梦。
2017年12月31日清晨,甘薇在美国与贾跃亭分别,独自乘坐航班降落在北京首都国际机场,落地之时,她用手机拍下T3航站楼的照片,附带坐标发到了她个人微博上,称自己带着使命归来。

1月2日,她在微博上正式宣布,受贾跃亭所托,自己将负责其在国内的债务问题,一时之间攒足了网友们的印象分。彼时,潘石屹老婆张欣评论道:“这个小女子,看着娇滴滴的,这么能担当,了不起!这男人,遇到事,把老婆推出来,真没出息!”

不过,甘薇并不认为自己的老公没出息。隔天凌晨时分,她在微博上发表了一篇名为《一个妻子的内心独白》的文章,文中深情写道:“老贾是一个有梦想的人,原本可以选择一条比较舒适的生活和轨迹创业,但却选择了一条艰难无比的道路创业,为了事业义无反顾。这是老贾的优点,也是他的缺点。今天,老贾阶段性创业失败,很大的问题是他有超越常人的梦想,不断地挑战自我、挑战极限,结果挑战过度。”
可以看出,彼时的甘薇,对老公“东山再起”还是抱有希望。
这边妻子在国内处理烂账,那边贾跃亭也没闲着,不断力挽狂澜,不过收效甚微。
2018年6月,贾跃亭说服恒大集团创始人许家印投入20亿美元,共同实现造车梦,不料两人在FF控制权上出现分歧,最终分道扬镳;2019年3月,又拉来第九城市的朱骏为FF“续命”,计划投资6亿美元,在中国大陆与贾跃亭一起造车,不过到目前为止该计划仍处于搁浅之中。
此外,2017年初山西老乡孙宏斌注资200亿元挽救乐视网这座将倾大厦,在董事长的位置上待了237天后,也挥一挥衣袖含泪告别。
随着“白衣天使”的名单越拉越长,又逐一离去,贾跃亭翻身的希望亦愈发渺茫。2019年10月14日,贾跃亭在特拉华州申请破产重整,夫妻二人也走到了离婚境地。
据了解,该州在美国被称为“破产天堂”,正常情况下,实现破产重组并不算太难。不过,由于只有23%的债权人同意贾跃亭的提议,无奈之下贾跃亭撤回了这份破产计划,并推迟了投票期限。
11月11日,贾跃亭发布公开信,希望与债权人讨论重组提议,言辞诚恳、令人感动。他承认自己是“乐视生态一夜崩塌的第一责任人,人们眼中的老赖”,表示“还债回国和把FF做成是我时刻背负的重担”。
不过,这封公开信并未获得相关债权人的同情,破产重组计划继续搁浅。
12月6日,贾跃亭出现在美国特拉华州举行的个人破产重组听证会上,并再次劝说债权人,并提出了要量产FF91来还清自己欠下的巨额债务。
12月6日贾跃亭在美国特拉华州出席破产重组听证会,图源:网络
按照他的说法,FF91想要实现量产,还有8.5亿美元的资金缺口,在破产重组计划通过的情况下,才有可能推动FF的B轮融资。
鉴于债权人和债务人双方的意见存在重大分歧,2019年12月18日,美国特拉华州破产法庭做出决议,将贾跃亭个人破产重组案转移至美国加州中区破产法院处理。
据了解,此次流传出来的文件,就是贾跃亭为了在美国加州破产法院再次申请破产的第二版披露声明。
按照时间,4月30日上午11点,破产法庭将对披露声明及相关动议举行听证会议,届时贾跃亭方面需至少在听证会前42天提交第三次修改后的披露声明。
这也意味着,悬在贾跃亭和债权人心头的破产重组事宜,短时间内还无法“尘埃落定”,双方之间的博弈还将继续。
